Adapter für die Revision des Fahrleitungsfahrzeug 163
Diplomarbeit Pascale Huber
Entwerfen, Konstruktion und Auslegung eines Adapters für die Mobilität des Fahrleitungsfahrzeug 163 während der Revisionszeit.
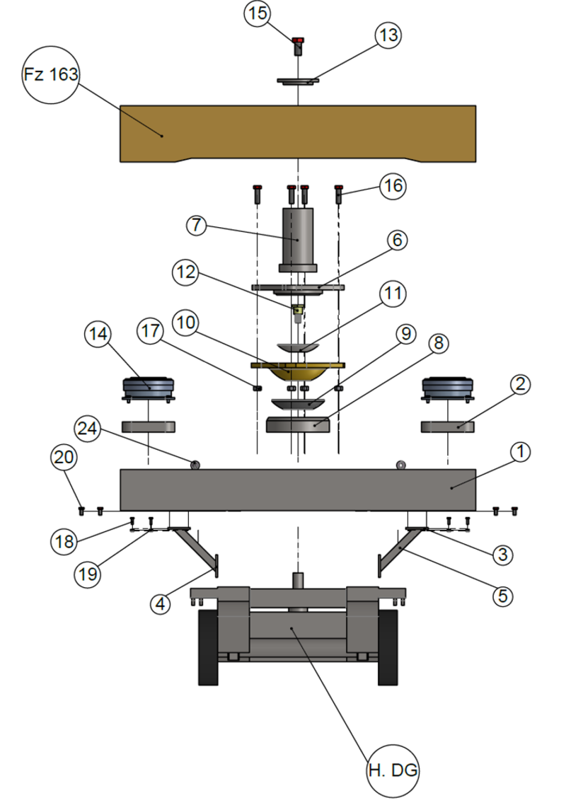
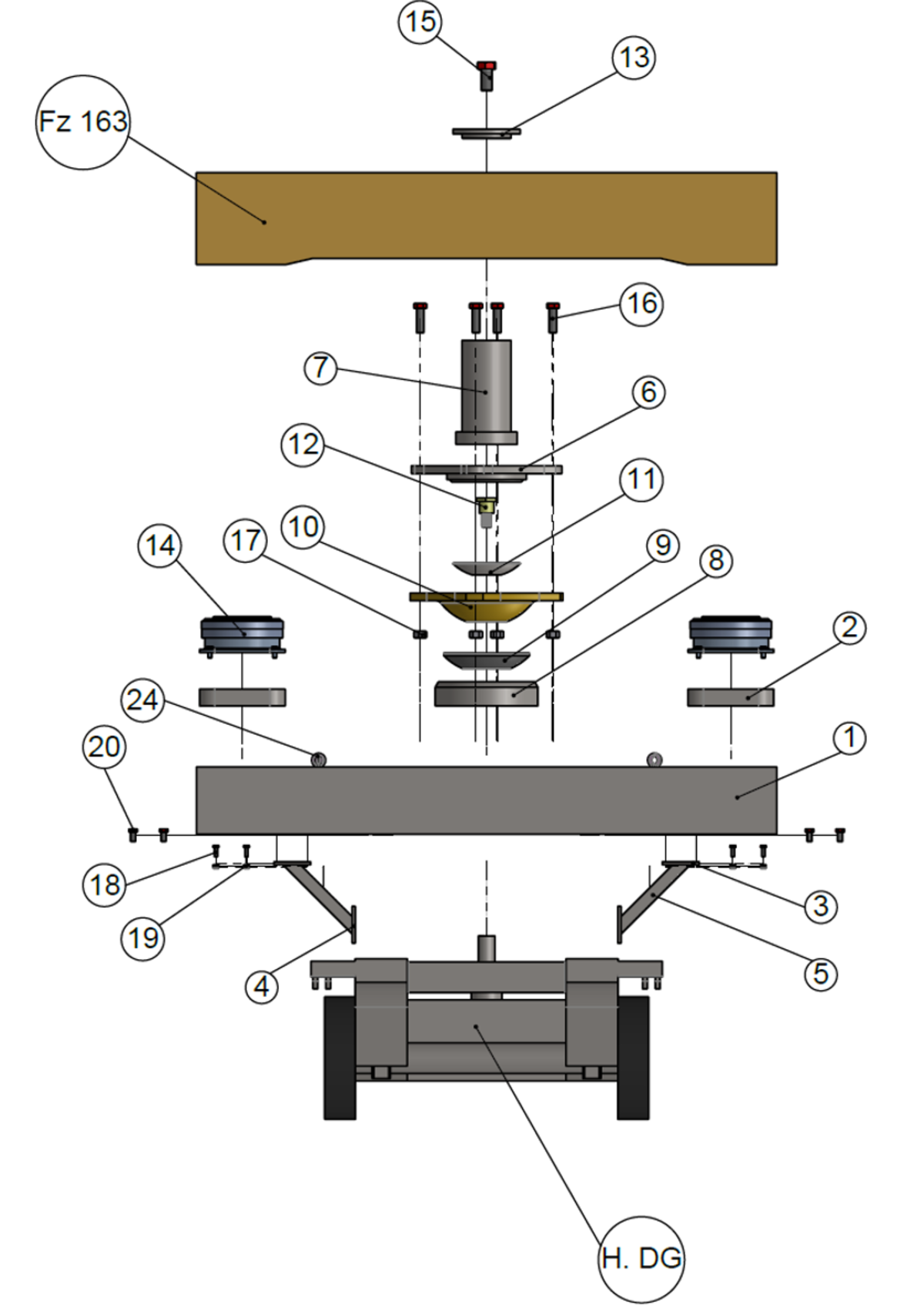
EinleitungZum Abschluss der Ausbildung zur Technikerin HF Maschinenbau wurde eine Diplomarbeit erarbeitet. Bei der Themenwahl war für mich zentral, ein Praxisbezogenes Projekt zu wählen bei dem ich mein erlerntes Wissen, welches ich mir in den letzten sechs Semester angeeignet habe, umsetzen kann. Der Regionalverkehr Bern-Solothurn betreibt neben den Personenzügen auch eine Dienstfahrzeugflotte für den Bau und der Unterhalt der Bahntrassen und Infrastrukturbauten. Auch an diesen Fahrzeugen muss periodisch eine Revision vorgenommen werden. Auf das Fahrzeug, welches ich mich in der Diplomarbeit beziehe, ist das Fahrleitungsfahrzeug 163. Dieses Fahrzeug wird im Jahr 2025 im Depot Worbboden revidiert. An dem Fahrzeug werden unter anderem die ganzen Drehgestelle demontiert. So ist das Fahrzeug nicht mehr mobil und kann nicht auf dem Areal verschoben werden. In der Diplomarbeit befasse ich mich damit eine Lösung für die Mobilität durch die Revisionszeit das Fahrzeuges zu finden. Es stehen in der Werkstätte zwei Rollschelmeldrehgestelle (Hilfsdrehgestell) bereit. Die Rollschemeldrehgestelle sind alte Drehgestelle, welche nicht mehr für den Betrieb verwendet werden. Sie dienen nur noch als Hilfsdrehgestelle. Die Idee ist es einen Adapter zu entwerfen und auszulegen der auf die Hilfsdrehgestelle sowie auf das Fahrleitungsfahrzeug 163 passt. Es sind Folgende Ziele definiert: -Der Adapter muss eine statische Belastung von 46 Tonnen aufnehmen können -Die Gesamtkonstruktion darf nicht höher als das originale +100mm sein -Vollständige Dokumentation -Einhalten des Budgets Lösungsvorschlag Der Lösungsvorschlag ist, ein Adapter aus verschiedenen Komponenten herzustellen. Die Basis des Adapters ist der Querträger (1). Der Querträger besteht aus zwei vierkantprofiele und wird auf das Drehgestell geschraubt. Auf den Querträger werden die Distanzplatten (2) für die Federtöpfe (4) und der Drehpfannenunterteil (3) geschweisst. Die Drehpfanne (5) wird auf den Unterteil montiert und mit dem Grundhalter (6) für den Zylinder (7) verschraubt. Der Zylinder ist in die Grundhaltung eingeschweisst und ist der Drehpunkt des Fahrzeuges. Die Gewichtskraft des Fahrzeuges wirkt auf die Federtöpfe, welche auf den Distanzplatten montiert sind. Damit der gesamte Adapter leicht montiert und demontiert werden kann, sind am Querträger Ringschrauben (8) montiert. So kann die Baugruppe mittels Krans bewegt werden. Mit diesem Lösungsvorschlag sind alle Ziele erfüllt und das Budget kann eingehalten werden.
Inhalt der ArbeitZu Beginn der Arbeit werden die wichtigsten Informationen zusammengetragen. Damit das Projekt eine gewisse Struktur hat wird ein Projektstrukturplan erstellt. Der soll als Leitfaden dienen. Es wird eine Risikoanalyse über die gesamte Diplomarbeit erstellt. Allfällige Risiken können bereits bei diesem Schritt verhindert werden. Damit die Arbeit ein Ziel hat, werden Ziele sowie die Erfolgskriterien definiert. Die Arbeit muss terminlich geplant sein, dazu dient ein erstellter Zeitplan. Der Zeitplan wird immer überprüft, um allfällige Verzögerungen frühzeitig zu erkennen. Die Anforderungsliste wird erstellt. Sie setzt die Bedingungen die, während dem Projekt berücksichtigt werden fest. Die Ideen für den Aufbau des Adapters werden zusammengetragen und ausgewertet. Um die beste Lösung als Endprodukt zu haben, werden zwei verschiedene Lösungen miteinander verglichen. Mithilfe der Auswertung wird die Beste Lösung ausgewählt und weiterverfolgt. Die Berechnungen dienen zur Dimensionierung und zur Überprüfung der Festigkeit. Wenn alle Berechnungen abgeschlossen sind, kann mit der Konstruktion des Adapters begonnen werden. Dabei werden die Einzelzeichnungen, Stücklisten, Baugruppenzeichnung und eine Explosionszeichnung erstellt. Mithilfe des 3-D Modelles kann die Höhe der fertigen Baugruppe überprüft werden. Damit die Handhabung klar ist, wird eine Montageanleitung erstellt. In der Montageanleitung sind z.B. die Drehmomente für die Schraubenverbindungen aufgelistet. SchlusswortAm Ende meiner Diplomarbeit blicke ich auf eine intensive Zeit zurück. Das Erarbeiten es Adapters hat mir Spass gemacht und es hat mich auch gefordert. Während der Arbeit konnte ich mein erlerntes Wissen, welches ich mir in den sechs Semester in den verschiedenen Studienfächern an der TEKO aneignen habe, in die Praxis umgesetzt. Zudem wurde ich vor neue Herausforderungen gestellt. Wenn ich jetzt die Zeit auf den Projektstart zurückdrehen konnte, würde ich alles genau gleich machen. Abgesehen von der Trägerwahl. Da würde ich bereits bei der Variantenfindung grobe Berechnungen erstellen. So wäre die Idee mit den zwei Vierkantrohre bereits früher gekommen. Das Zeitmanagement hatte ich ziemlich im Griff. Während der sechs Wochen war ich streng zu mir selbst, um den Terminplan einzuhalten. Ich habe mir anfangs des Projektes vorgenommen die Dokumentation immer parallel zu der Arbeit zu führen. Das hat gut funktioniert. Mit meiner Diplomarbeit bin ich sehr zufrieden.

Pascale Corina Huber
Polymechanikerin EFZ / Regionalverkehr Bern-Solothurn / Berufsbildnerin / Geboren:08.06.1998
pascale.huber@edu.teko.ch










